蘋果可折疊iphone曝光,兩塊屏幕相連成一體
發布時間:
編輯:
近日,有媒體報道,蘋果公司正在開發一款可折疊的iPhone原型機,它的特點是將兩個獨立的顯示面板通過鉸鏈連接形成一體,給人一種眼前一亮的設計感。

這款可折疊的iPhone在設計語言上和目前的iPhone 11差不多,機身擁有圓潤的不銹鋼邊框,沒有劉海,在顯示屏外側有一個 小小的額頭,用于Face ID。
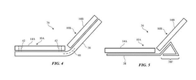
說到折疊屏手機,相信大家也聽過三星的Galaxy Fold折疊手機,但蘋果這款折疊手機不一樣的地方是,三星Galaxy Fold只有一塊屏幕,而蘋果可折疊的iPhone采用了兩個獨立的顯示屏,由一個鉸鏈連接,看起來兩個顯示屏的連接相當完美,一體感很好。

目前還沒有消息表明蘋果可能會在什么時候開發出可折疊的iPhone,但蘋果對可折疊技術已經進行了大量研究。實際上,自2017年以來,就有傳言稱蘋果就一直在研究可折疊設備,并且美國專利商標局公布了蘋果的一份可折疊顯示屏的專利申請。一年后,蘋果公司獲得了第二項具有柔性鉸鏈的可折疊iPhone設計專利。
在2020年3月的一項專利中描述了一種設備,該設備的特點是兩個獨立的顯示器連接在一起,以創建一個單一的可彎曲的設備與鉸鏈。

也有消息稱,蘋果這款可折疊的iPhone手機今年上市的可能性不大,或許zui快也要等到明年,讓我們拭目以待吧。
上一篇 :
手機突然沒信號,自己動手排查故障
下一篇 :
iPone系統更新,你后悔了嗎?
